

The life of the building could very much depend on the quality and integrity of the roof. The ability of a roof to perform effectively on a long term basis depends on the quality of material, design of the roofing system and quality of workmanship. The extreme heat in the Middle East demands excellent insulation to prevent energy wastage. The Aquatite Combo Roofing System does just that, with a saving of over 40% in energy. It also provides for a perfect waterproofing thus making it the ideal and cost effective system.
Combo Roof is a comprehensive system comprising of waterproofing, thermal insulation and finishing for the roof. This unique system is a technically advanced fast curing. This system provides a warranty of 25 years against any leakage.
The system meets all latest thermal insulation standards and regulations in UAE and is accepted by all major property developers, consultants and contractors.
The system is also approved by various authorities like Dubai Municipality, Sharjah Municipality, Sharjah Water and Electricity authority; Combo Roof system is an assured solution for your roof.
Spray foam roofing starts out as two liquid components - an isocyanate, known as the “A” component, and a resin (or polyol), the “B” component. When the liquids are mixed at a one-toone ratio, a chemical reaction occurs and the mixture expands 20 or 30 times forming a solid, monolithic (seamless), closed-cell, fully-adhered roof system that provides excellent waterresistance and thermal insulating abilities.
Polyurethane foam adheres to just about everything so it can be installed over concrete, wood, steel, and most existing roof systems (EXCEPT APP MODIFIED BITUMEN!) which saves on the expense of roof removal and landfill fees. Polyurethane Foam mechanics can spray apply a tapered roof system with the foam which eliminates the need for costly tapered insulation systems. The vertical wall terminations are also spray applied making them an integral part of the roof system and minimizing additional component costs.
The roofing contractor will be responsible for the following procedures.
The initial layer of polyurethane is sprayed to the desired thickness after making sure the slab is cleaned adequately.
The polyurethane layer is sprayed with liquid acrylic waterproofing which serves as a waterproofing layer as well as solar UV protection for the polyurethane layer.
A water test is then conducted once the acrylic liquid waterproofing layer is completely dry. The water test is done after blocking the rain water pipe at ground level.
This will ensure the integrity of the drainage outlet and pipes right to the ground level.



1. External Plaster Finish.
2. Fabric Reinforcement.
3. Angle Fillet Over Polybond Bonding Agent (Varies According To Slope).
4. Polyflex Top Coat (800micthic) Acralic Ciruit1us Modified.
5. Sbr Nonding Agent.
6. Concrete Screed To Slope (320 Opc, 90mm Ave Thickness).
7. Filter Membrane Geo Textile.
8. Raberise Coating.
9. Polyurethane Foam Of Thickness 30-3emm With 40-45 Kg/M3 Density.
10. Polybond Bonding Agent.
11. Polybord + Backing Rod + Polyseal 1 Pu Sealant .
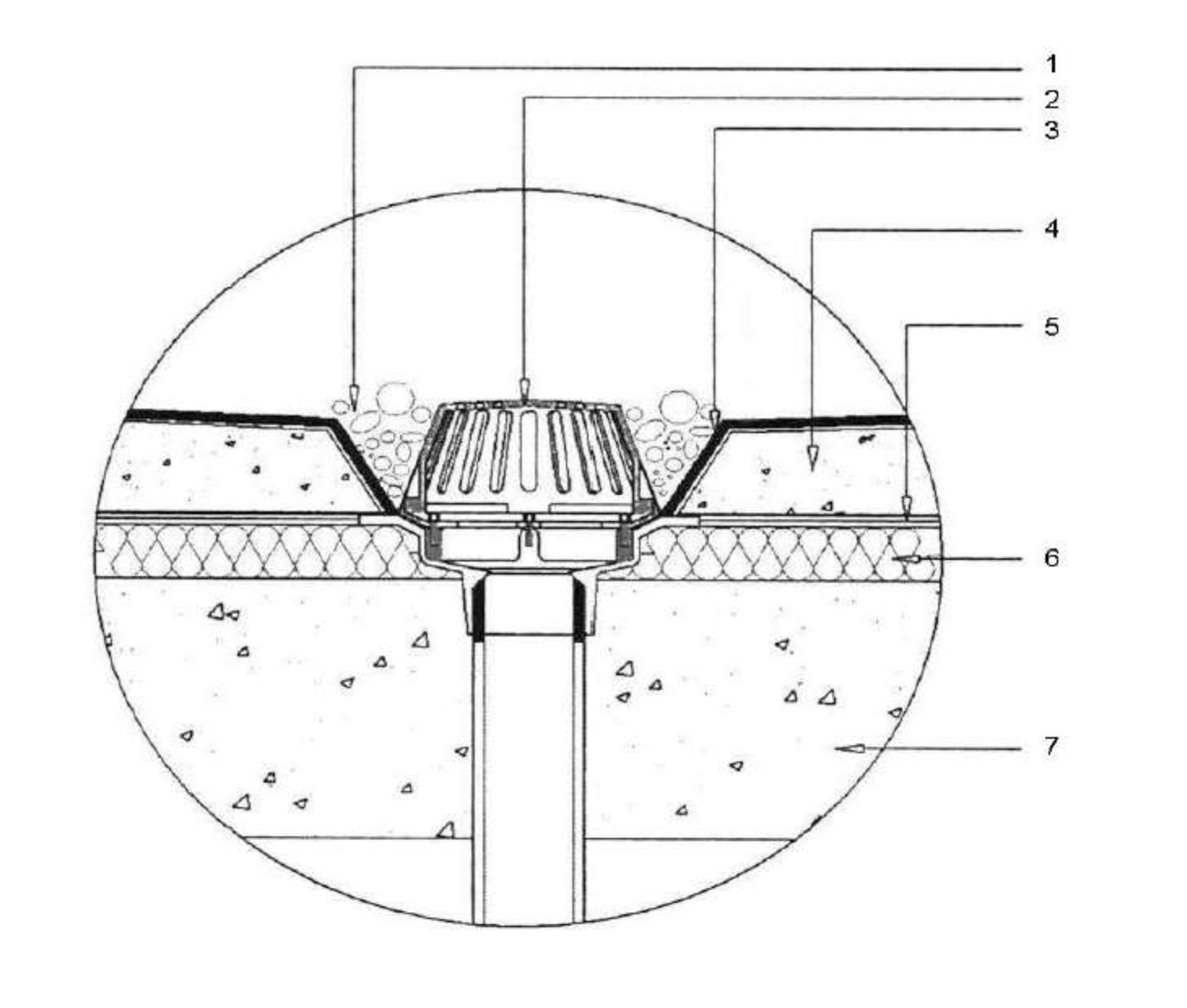
1. Gravel.
2. RainWater Out Let.
3. Poly Flex ( Combo Flexible cementitious Coating).
4. Re-inforced Concrete Screed to Slow.
5. Brush Applied Polytex/RBE Illustomalric UV Protection Coating.
6. Sparayed Polyfoam Insulation / Ite Int-arced Concreate.
7. Re-inforced Concrete.